Toggle navigation
首页
部门概况
部门简介
机构设置
新闻公告
部门新闻
通知公告
政策法规
资产管理
招标采购
资管信息公开
招采信息公开
采购公告
结果公告
变更公示
采购意向
论证公示
办事指南
工作流程
政策宣讲
下载中心
首页
>
办事指南
>
政策宣讲
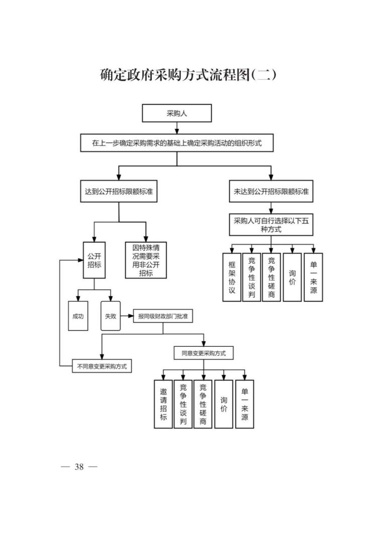
政府采购知识百问百答手册
日期:2024-05-15 09:26:06 来源: 浏览量:
0
操作>>
百问百答操作手册1.pdf
核发:zcglzx
点击数:0
【
收藏本页
】
上一篇:
没有了
下一篇:
一张图读懂2022-2023年集中采购目录及采购限额标准
返回首页
关闭页面
分享到
相关链接
数字校园
通知公告
信息公开
图书馆
教育基金会
学校首页